Applied Thermoelectric Solutions LLC

a three stage cascade stacked thermoelectric module

How Thermoelectric Cooling Works [2025]

Table of Contents How Thermoelectric Cooling Works: A Simple Guide Thermoelectric cooling may seem like a complex concept, but it doesn’t have to be. The goal of this post is
Robot image for thermoelectric solutions Judges NASA contest

Applied Thermoelectric Solutions Invited to Judge NASA Tech Briefs Innovation Contest

Applied Thermoelectric Solutions Invited to Judge NASA Tech Briefs Innovation Contest Applied Thermoelectric Solutions had the honor of being invited to participate as a judge in the NASA Tech Briefs
3D Modeling and Simulation results for a thermoelectric generator (TEG) and a two stage TEG module

Thermoelectric Generator Modeling and Simulation: 8 Things You Should Know

Done correctly, most thermoelectric generator (TEG) projects succeed. Below, you will find many benefits of thermoelectric generator modeling and simulation that most people are unaware will help their project succeed.
Thermoelectric Generator (TEG) Seebeck Module with electrical

Applied Thermoelectric Solutions Wins Open Innovation Challenge

Applied Thermoelectric Solutions has been recognized as one of the leading contenders in a recent open innovation competition. Amongst a staggering 300 submissions received from various corners of the globe,
Thermoelectric generator power versus time plot with Thomson effect, Seebeck Effect, non thermoelement model and temperature dependent properties

Applied Thermoelectric Solutions Wins Editors’ Choice Award

The Journal of Electronic Materials has awarded Applied Thermoelectric Solutions with the prestigious editor’s choice award. This recognition was granted for our outstanding paper titled “Detailed Transient Multiphysics Model for
A radioisotope thermoelectric generator (RTG) pacemaker

How Thermoelectric Generators Work

Table of Contents How Thermoelectric Generators Work Thermoelectric generators (TEG) are solid-state semiconductor devices that convert a temperature difference and heat flow into a useful DC power source. Thermoelectric generator
Thermoelectric generator module thermal image

Our Upcoming International Conference on Thermoelectrics (ICT) Presentation

Our Upcoming International Conference on Thermoelectrics (ICT) Presentation, Caen France   Presentation Topic: Detailed Transient Multiphysics Model for Fast and Accurate Design, Simulation and Optimization of a Thermoelectric Generator (TEG)
SPICE model of a heat generating object cooled by transient pulses thermoelectric simulation

Transient Electrical Current Peltier Cooling Performance

Please find the below PDF with our latest work titled Peltier Supercooling with Isosceles Current Pulses: Cooling an Object with Internal Heat Generation. This work was published and presented at the
Medical applications of thermoelectrics / Peltier cooling showing a Peltier cooler / thermoelectric generator

Introduction to Thermoelectrics and Medical Applications

Introduction to Thermoelectrics and its Application to the Medical Field             What is Thermoelectrics? Thermoelectrics is the collective application of the thermoelectric effect. The thermoelectric
Join Us At 232nd ECS Meeting Showing and Thermoelectric Peltier Module | Applied Thermoelectric Solutions | thermoelectricsolutions.com

Join us at the 232nd Electrochemical Society Meeting (ECS)

We are fortunate to be invited to speak at the 232nd Electrochemical Society Meeting (ECS) held in National Harbor, MD. Presentation Title: Peltier Supercooling with Isosceles Current Pulses: Cooling an
optimization of pulsed Peltier cooling and heating

Transient Thermoelectric Pulse Cooling

Introduction to Transient Thermoelectric / Peltier Pulsed Cooling The below article is adapted from a presentation that was presented at the International Conference on Thermoelectrics (ICT) by our founder and CTO
Thermoelectric generator and thermoelectric cooler module performance optimization

Thermoelectric Module Optimization

What is Thermoelectric Module Optimization? An optimized thermoelectric module is quite different from custom thermoelectric module. With a custom thermoelectric module design there can be many designs that meet your
International Conference on Thermoelectrics ICT Showing a Peltier module

We will Present at the 36th International Conference on Thermoelectrics (ICT)

Please join us at the 36th International Conference on Thermoelectrics. We will be presenting on “Peltier Supercooling with Isosceles Current Pulses: A Response Surface Perspective”. The presentation will discuss our
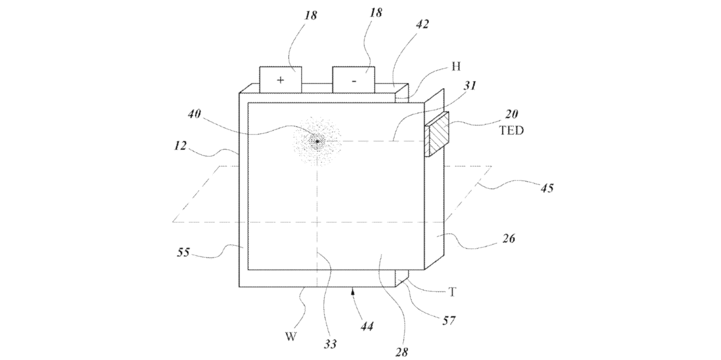
Patent image of battery pack cooled with thermoelectric modules

Solid-State Battery Thermal Management System

The solid-state battery thermal management system in the below PDF is a sample of our work. This battery thermal management system has many features that set it apart from typical
Thermoelectric Peltier simulation of temperature vs. time during a transient thermoelectric pulse with comparison to other models
Below is an example of our published research and development work with transient thermoelectric pulse cooling (also known as Peltier supercooling, thermoelectric supercooling, thermoelectric pulse cooling). It was found with this
Thermoelectric Peltier Couple showing electrons and hold a DC power source and hot and cold side

How is heat transferred in a Peltier / Thermoelectric module?

To understand how heat is transported in a Peltier module, it is necessary to understand the construction of a Peltier module. A semiconductor couple is the basic building block of
The effect of Isosceles current pulse height on Qc of a thermoelectric couple vs time

Thesis on Using Electrical Current Pulses to Improve Thermoelectric Cooling

Improving Thermoelectric Cooling Using Triangular Electrical Current Pulses Please check out the below Thesis document titled:   “Transient thermoelectric supercooling: isosceles current Pulses from a response surface perspective and the
Patent image of thermoelectric cooling of a battery pack with graphite heat spreaders

Thermoelectric / Peltier Battery Cooling. Graphite Heat Sink Doubles as Heater

Unique Battery Thermal Management System An example of our work. Lots of unique features with this thermoelectric battery thermal management system. One interesting feature is the heat sink is also
Patent image of thermoelectric battery cell cooling with heat spreaders

Thermoelectric / Peltier Battery Cooling and Uses of Heat Spreaders

Battery Thermal Management with Thermoelectrics and Heat Spreaders An example of our work, have a read of the below PDF regarding using thermoelectrics and heat spreaders for battery cell cooling
Patent image of thermoelectric battery cooling of battery terminals

Thermoelectric Thermal Management of Electrical Devices

Thermoelectric Thermal Management of Electrical Devices An example of our work, the below PDF discusses using thermoelectrics for thermal management of electrical devices, including batteries.
Thermoelectric devices circuit board and blower

6 Benefits of Using Our Thermoelectric Innovation Service

What is open innovation? Open Innovation is a process of engaging in R&D and Innovation with a greater emphasis on complimenting the organizations internal ideas and research with ideas and
A multi-stage thermoelectric module shown with a thermoelectric simulation response surface for transient thermoelectric pulse cooling.

5 Benefits of our Thermoelectric Engineering and Simulation Services

Predict System Performance with Confidence Launching a new product or improving upon and old one is a resource intensive venture. What if you could understand with confidence the thermal performance
Solid-state thermoelectric cooling and TEG module

9 Advantages of Solid-State Thermoelectric Thermal Management Technology

What is solid-state thermoelectric technology and how does it work? Solid-state thermoelectric heating and cooling technology is also known as Peltier cooling. Sometimes it is abbreviated TEC (Thermo-Electric Cooling) and