Graphite Thermoelectric Battery Cooling Patent
This page discusses an earlier graphite thermoelectric battery thermal management patent developed by Alfred Piggott while working at Gentherm. The patent is compared here with more recent battery thermal management innovations developed by Applied Thermoelectric Solutions, including ParaThermic® high-heat-transfer battery architecture and the VoltaTherm® solid-state battery thermal management system.
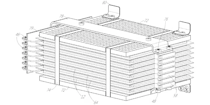
The patented concept used pyrolytic graphite heat spreaders, thermoelectric devices, and resistive heating to provide battery heating and cooling through an integrated battery thermal management system.
The design is included here as technical background. It shows earlier work in battery cooling, solid-state battery thermal management, battery heat spreading, thermoelectric cooling, resistive heating, and battery thermal system integration.
It is also useful because it shows how battery thermal management challenges have evolved since this patent was issued. The earlier patent attempted to improve the thermal path to the battery by adding graphite heat-spreading structures and integrating thermoelectric heating and cooling into the battery pack.
Since then, Applied Thermoelectric Solutions has continued developing newer battery thermal management approaches that address the problem more directly and effectively: ParaThermic® high-heat-transfer battery architecture and the VoltaTherm® solid-state battery thermal management system.
Patent Overview
The patent describes a thermal management system configured to heat and/or cool battery cells, more broadly described in the patent as electrical devices. In the battery embodiment of interest, the system uses graphite heat spreaders in thermal communication with the battery cells.
The graphite sheets were integrated between battery cells to improve the heat-transfer path between the cells and the thermoelectric thermal management system. These same graphite sheets could also function as resistive heaters to add heating power during battery warm-up.
At a high level, the patent combines several functions:
- Battery heat spreading with graphite sheets
- Thermoelectric cooling
- Thermoelectric heating
- Resistive battery heating
- Thermal and electrical connection features
- Battery pack integration
- Waste heat removal through a duct, blower, heat exchanger, or related system
This was an early example of treating the battery thermal management system as a combined electrical, thermal, and mechanical architecture rather than simply attaching a cooling plate to the outside of a battery pack.
Why Graphite Was Used in the Battery Thermal Management System
Graphite can have very high in-plane thermal conductivity. That makes it useful as a heat-spreading material when heat needs to move laterally across a battery surface or through a thin heat-spreader layer.
In this patent, graphite was used to help reduce the thermal resistance between the battery and the thermal management system. The concept was not simply to cool the outside of a battery case. It was to create a more effective thermal pathway by using graphite sheets integrated with thermal and electrical structures.
That matters because battery thermal management is not only about how cold the cooling system can get. It is also about how easily heat can move from the battery cell interior to the thermal management interface. If that path has high thermal resistance, the cell core can remain hot even when the cooling surface is cold.
For a broader explanation of this limitation, see our page on battery thermal management, which explains why internal thermal resistance and cell temperature gradients can limit battery cooling performance.
The patented graphite approach was one way to improve that path. However, it also added material cost, integration complexity, and manufacturing considerations.
That is where later Applied Thermoelectric Solutions technology becomes important.
How the Patent Relates to ParaThermic® Battery Architecture
ParaThermic® technology addresses the battery-side thermal bottleneck more directly.
The graphite patent was designed to reduce the thermal resistance in the path between the battery and the thermoelectric device. ParaThermic® goes further by reducing the thermal resistance of the battery architecture itself.
Rather than relying primarily on an intermediate heat-spreading structure, ParaThermic® high-heat-transfer battery architecture is designed to improve the internal heat-transfer pathway from the heat-generating regions of the cell to the battery thermal management interface.
This is an important distinction.
The graphite patent added a thermal management structure to help move heat to and from the battery. ParaThermic® changes the battery-side heat-transfer architecture so heat can move out of the cell more effectively, without relying on large cooling-system-induced temperature gradients that can degrade the battery and compromise safety.
For battery thermal management, ParaThermic® batteries and cooling methods are complementary. ParaThermic® batteries are designed to support many cooling methods, including:
- Air cooling
- Liquid cooling
- Refrigerant cooling
- Immersion cooling
- Two-phase cooling
- Jet impingement cooling
- Thermoelectric cooling
- Hybrid battery thermal management systems
ParaThermic® batteries do not require thermoelectric cooling. ParaThermic® is a low-thermal-resistance battery architecture that can improve the effectiveness of the cooling method used with it.
How the Patent Relates to VoltaTherm® Solid-State Battery Thermal Management
VoltaTherm® addresses the system side of the battery cooling and heating problem.
The graphite patent combined graphite heat spreaders with thermoelectric devices and a waste heat removal system. VoltaTherm® continues the solid-state thermoelectric battery thermal management direction, but with a more compact, integrated, and advanced system architecture.
VoltaTherm® is a compact, highly integrated, easy-to-assemble solid-state battery thermal management system. It uses thermoelectric heating and cooling to actively manage battery temperature without compressor-based refrigeration or refrigerant lines routed through the battery pack.
One major difference is control level.
The graphite patent concept shown here largely treats the battery stack or module region as a shared thermal mass. It does not provide true individual cell temperature control in the way VoltaTherm® provides it.
VoltaTherm® enables true individual cell temperature control. In a battery pack, not every cell experiences the same thermal boundary condition. Cells near the outside of the pack can lose or gain heat differently than cells in the interior. During hot-weather operation, outside cells may require more cooling. During cold-weather operation, outside cells may require more heating. Under high C-rate operation, differences in cell resistance and aging can also create different heat-generation rates from cell to cell.
This is different from an earlier bus-bar-mounted thermoelectric battery thermal management patent, which provided localized cell-pair heating and cooling rather than true individual cell temperature control.
That is why individual cell temperature control matters. A system that can cool some cells while heating others can reduce cell-to-cell temperature variation more directly than a system that lacks individual-cell-level temperature control.
Why the Earlier Graphite Approach Still Matters
The graphite thermoelectric patent remains important because it shows several principles that are still relevant to battery thermal management today.
First, it recognized that battery thermal performance depends on the complete heat-transfer path, not only the cooling hardware.
Second, it combined heating and cooling functions into a more integrated architecture.
Third, it used solid-state thermoelectric devices to provide reversible heating and cooling without a compressor.
Fourth, it explored how battery thermal management can be integrated with the battery pack structure rather than treated as a separate external subsystem.
Those ideas remain valuable. However, the later technology direction is more powerful because it separates the problem into two complementary pieces:
ParaThermic® technology improves the battery-side heat-transfer architecture.
VoltaTherm® improves the thermal-management-system side with compact solid-state heating and cooling plus true individual cell temperature control.
Together, this approach can provide the benefits originally targeted by graphite-enhanced thermoelectric battery cooling, while reducing the need for added graphite cost and complexity.
Earlier Patent vs. ParaThermic® vs. VoltaTherm®
| Technology | Primary Role | What It Improves | Control Level | Key Distinction |
|---|---|---|---|---|
| Graphite thermoelectric battery thermal management patent | Battery heating and cooling using graphite heat spreaders, resistive heating, and thermoelectric devices | Reduces the thermal path to the battery using added graphite heat-spreading structures | Module, stack, or shared-region control depending on embodiment | Early integrated approach, but adds graphite cost and complexity |
| ParaThermic® | High-heat-transfer battery architecture | Reduces battery-side thermal resistance from the cell interior to the thermal management interface | Battery architecture improvement | Improves how easily heat moves out of the battery itself |
| VoltaTherm® | Compact solid-state battery thermal management system | Provides active thermoelectric heating and cooling at the system level | True individual cell temperature control | Enables some cells to be cooled while others are heated simultaneously |
Technical Lessons for Modern Battery Thermal Management
Modern battery thermal management systems must do more than remove heat from the outside of a pack. They must manage heat generation, thermal resistance, temperature gradients, cell-to-cell temperature variation, cold-weather operation, fast-charging heat loads, packaging limits, safety margins, and long-term durability.
A battery cooling system can have a strong cold plate, liquid loop, refrigerant system, or immersion cooling approach and still be limited by the battery’s internal thermal resistance.
That is the central lesson.
If heat cannot move efficiently from the cell core to the thermal management interface, the battery can develop internal gradients even when the external cooling system is powerful. Applying more cooling to the outside can increase the surface-to-core gradient, which may not be the best path to better battery performance or longer battery life.
Applied Thermoelectric Solutions evaluates these tradeoffs through battery thermal management design support, including heat-transfer path analysis, thermal resistance evaluation, and system-level concept review.
The graphite patent addressed this issue by adding a heat-spreading structure. ParaThermic® addresses it by reducing the battery-side thermal resistance more directly. VoltaTherm® addresses it by providing compact, active, solid-state heating and cooling with cell-specific control capability.
Related Battery Thermal Management Work by Applied Thermoelectric Solutions
Applied Thermoelectric Solutions supports battery thermal management, thermoelectric design and simulation services, solid-state thermal management, and advanced heat-transfer development through system-level engineering.
Our work can include:
- Battery thermal management concept evaluation
- Battery cooling system design support
- Battery thermal analysis and modeling
- Thermoelectric battery cooling architecture review
- Solid-state battery thermal management development
- Heat-transfer path evaluation
- ParaThermic® battery architecture discussions
- VoltaTherm® system-level concept development
- Prototype planning and technical risk reduction
Battery thermal management performance depends on the full system. The best solution is not always the coldest cooling method. The best solution is the one that manages the full heat-transfer path from heat generation inside the cell to heat rejection outside the system while minimizing cooling-system-induced temperature gradients within the battery.
For broader product-development support, Applied Thermoelectric Solutions also provides custom thermoelectric system development for applications requiring cooling, heating, power generation, or integrated thermal management.
Frequently Asked Questions
Is this an Applied Thermoelectric Solutions patent?
No. This patent was developed by Alfred Piggott while working at Gentherm and is assigned to Gentherm. It is included here as background showing earlier technical work in graphite battery thermal management, thermoelectric battery cooling, resistive battery heating, and solid-state thermal system integration.
What does this graphite thermoelectric battery thermal management patent describe?
The patent describes a battery thermal management concept that can use pyrolytic graphite heat spreaders, thermal and electrical connectors, thermoelectric devices, resistive heating, and waste heat removal systems to heat and/or cool a battery or other electrical device.
Why was graphite used in this battery thermal management system?
Graphite was used because pyrolytic graphite can spread heat effectively in-plane. In this concept, the graphite heat spreader helped move heat between the battery and the thermal management system. It could also support resistive heating when electrical current was applied.
Is this the same as ParaThermic® technology?
No. The graphite patent used added graphite heat-spreading structures to improve the thermal path to the battery. ParaThermic® is a low-thermal-resistance, high-heat-transfer battery architecture that improves the battery-side thermal pathway itself.
Does ParaThermic® technology require thermoelectric cooling?
No. ParaThermic® technology is a high-heat-transfer battery cell architecture. It allows heat to flow more easily from the cell core to the cell surface while minimizing cooling-system-induced temperature gradients within the cell.
ParaThermic® can work with air cooling, liquid cooling, refrigerant cooling, phase-change cooling, thermoelectric cooling, immersion cooling, two-phase cooling, jet impingement cooling, and other battery thermal management methods.
How does this earlier patent compare with VoltaTherm®?
VoltaTherm® is a later solid-state battery thermal management system concept developed to be compact, highly integrated, easy to assemble, and capable of active thermoelectric heating and cooling. Unlike the earlier graphite patent embodiment, VoltaTherm® is intended to provide true individual cell temperature control, including the ability to cool some cells while heating others at the same time.
What is the difference between ParaThermic® and VoltaTherm®?
ParaThermic® is a low-thermal-resistance, high-heat-transfer battery architecture. It improves the battery itself by reducing the internal thermal resistance between the heat-generating regions of the cell and the battery thermal management interface.
VoltaTherm® is a compact, highly integrated, easy-to-assemble, solid-state battery thermal management system. It improves the system side by providing active thermoelectric heating and cooling with true individual cell temperature control.
Why does individual cell temperature control matter?
Cells in a battery pack do not always experience the same heat generation or boundary conditions. Outside cells, interior cells, aged cells, and cells with different internal resistance can require different levels of heating or cooling. True individual cell temperature control can help reduce cell-to-cell temperature variation and improve pack thermal balance.
Does thermoelectric battery cooling replace liquid cooling?
Not necessarily. Thermoelectric cooling is one possible battery thermal management method. Liquid cooling, air cooling, refrigerant cooling, immersion cooling, phase-change systems, two-phase cooling, and hybrid systems can also be appropriate depending on the application.
The best solution depends on heat load, temperature targets, packaging constraints, controls, cost, reliability, and thermal resistance.
Why is thermal resistance so important in battery cooling?
Thermal resistance determines how easily heat can move from the battery cell interior to the thermal management interface. If battery-side thermal resistance is high, the cell core can stay hotter than the cooled surface. Lowering thermal resistance can improve heat removal without relying only on colder external cooling.
Can Applied Thermoelectric Solutions help evaluate a battery thermal management concept?
Yes. Applied Thermoelectric Solutions helps companies evaluate battery thermal management architectures, thermoelectric cooling concepts, solid-state heating and cooling systems, battery thermal resistance, heat-transfer pathways, and advanced battery cooling approaches.
Graphite Thermoelectric Battery Cooling Patent PDF Download
Links that May Interest You
- Our Thermoelectric Generator and Thermoelectric Cooling Services
- Our Thermoelectric Cooling and Thermoelectric Generator Work
- How Thermoelectric Generators Work
- How Thermoelectric Cooling Works
- ParaThermic® Battery Thermal Management Technology
- VoltaTherm® Battery Thermal Management System (BTMS)
- PowerBeam™ Wireless Power Transfer Technology
- Our Thermoelectric and Advanced Thermal Technology
- Solar Thermoelectric Generator Case Study
- Thermoelectric Cooling Prototype Case Study
- Battery Thermal Management | Why Cooling Has Reached Its Physical Limit


