Applied Thermoelectric Solutions LLC

Thermoelectric / Peltier Battery Cooling and Uses of Heat Spreaders

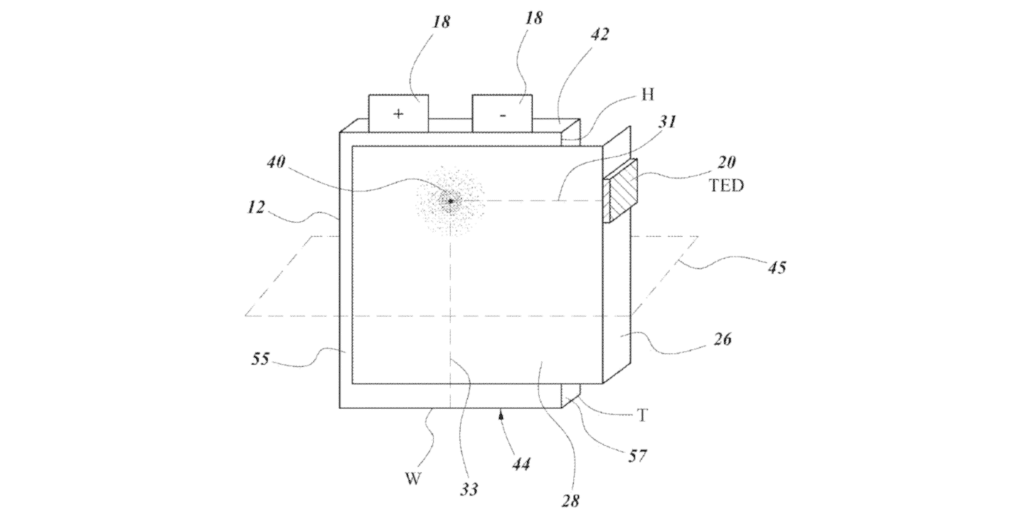
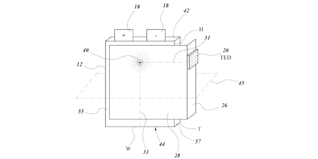
Battery Thermal Management with Thermoelectrics and Heat Spreaders

An example of our work, have a read of the below PDF regarding using thermoelectrics and heat spreaders for battery cell cooling and heating (thermal management)

Leave a Reply

Your email address will not be published. Required fields are marked *